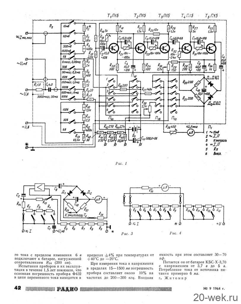
Ампервольтметр *Ф-432* выпускался с 1963 года Житомирским заводом *Электроизмеритель*. Ампервольтметр *Ф-432* с применением транзисторов предназначен для измерения постоянного и переменного тока и напряжения, сопротивления постоянному току. Подробнее в документации — ниже.


Радио №9/1964, ст.41


